产品分类
联系我们
地   址:江苏省姜堰市娄庄镇工业园区
邮   编:225500
电   话:0523-88691721
传   真:0523-88690601
联系人:黄一明
手   机:13952680087
网   址:www.jsmwjx.com
邮   箱:mw@jsmwjx.com
首页 > 冷却器系列 > GLL型立式冷却器
GLL型立式冷却器 产品名称:GLL型立式冷却器
产品描述:GLL型双联立式冷却器适用于汽轮发电机组、压缩机组、风机、泵组及石油化工行业上的油冷却系统,冷却器也可用于其它油冷却系统。
在线询盘

GLL型立式冷却器介绍:

    GLL型立式油冷却器适用于汽轮发电机组、压缩机组、风机、泵组及石油化工行业上的油冷却系统,冷却器也可用于其它油冷却系统。

 

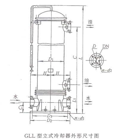
GLL型双联立式冷却器外形图及尺寸图

GLL型立式冷却器

    
   
  

 

 
L
C
L1
C1
H
D1
D2
D3
DN
D4
n1-d1
n1-d2
质量/kg
GLL5-35L
2610
1692
470
150
315
426
640
590
80
160
6-ф30
8-ф17.5
734
GLL5-40L
2880
1962
802
GLL5-45L
3120
2202
100
180
853
GLL5-50L
3390
2472
936
GLL5-60L
3930
3012
1063
GLL5-80L
3255
2015
705
235
 
 
500
 
 
616
 
 
1075
 
 
1015
 
125
 
210
6-ф40
1670
GLL5-100L
3855
2015
1943
GLL5-120L
4455
3215
150
240
6-ф22
2216
GLL5-160L
3320
2010
715
602
820
1210
1150
2768
GLL5-200L
3970
2660
200
295
3340
来源:本站 时间:2019-08-19 09:41:56

浏览更多 立式冷却器  GLL型立式冷却器  的内容

© 版权所有 泰州市明炜机械有限公司 Sitemap 易普网络
苏ICP备12005594号
友情链接: